Výfukovými plynmi poháňané turbodúchadlo je dekády skvelým technickým prostriedkom zvyšujúcim výkony a vďaka pomerne presnej regulácii (v kombinácii so vstrekovaním, variabilnou geometriou lopatiek, obtokovými ventilmi...) v posledných rokoch tiež cestou, ako súčasne zvýšiť prevádzkovú efektivitu motorov.
Jeho asi najväčšiu nevýhodu, teda nedostatočné otáčky a tlak pri nízkom zaťažení motora, konštruktéri eliminovali napríklad spárovaním s mechanicky poháňaným kompresorom, zástupnou hybridnou technikou a v poslednej dobe tiež integráciou malého elektromotora priamo do turba, ktorý zabezpečuje nútené preplňovanie (viz. Mercedes či Porsche).
Ako regulujeme preplňované motory
Problém turbodúchadla je však v tom, že obvykle má pri plnom zaťažení stále viac energie, než motor dokáže zužitkovať, respektíve koľko zvládne jeho blok, piestne krúžky či tesnenie pod hlavou.
Prebytky výfukových plynov, presnejšie povedané príliš vysoký tlak, je odkláňaný mimo turbínu prostredníctvom obtokového ventilu (wastegate) späť do výfuku, zatiaľ čo prebytočný vzduch (obvykle pri prudkom ubratí plynu a roztočenom turbe) je odpúšťaný späť do nasávania alebo mimo motor (diverter, blow-off).
Začali sme chladiť zvody
O reguláciu tlaku sa v motoroch môže starať tiež spomínaná variabilná geometria rozvádzacích lopatiek, háčik je však v tom, že dnešné preplňované motory majú veľký špecifický výkon a výsledkom sú tiež vyššie teploty. Najväčší problém vzniká vo výfuku, kde extrémne horúce plyny skracujú životnosť ventilov, katalyzátorov a ďalších drahých dielcov.
Automobilky museli tento problém riešiť chladenými výfukovými zvodmi (chladenie spaľovacieho procesu obohacovaním zmesi neprichádzalo do úvahy, zvyšuje spotrebu), lenže tým riešite následok a nie príčinu problému.
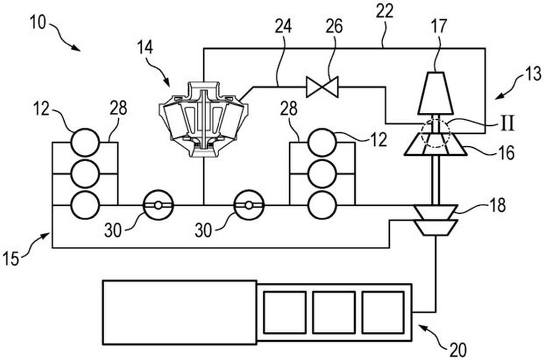
Nákres nového patentu Porsche.
Nešlo by to inak?
V Porsche sa nad týmto problémom zjavne zamysleli a padla otázka: je možné z turbodúchadla trvalo odoberať čo najviac energie z výfukových plynov (čím ich zároveň schladíte), aby sme čo najmenej zaťažovali výfukový systém tlakovými a tepelnými prebytkami a zároveň dokázali efektívnejšie regulovať tlak a teplotu nasávaného vzduchu?
Asi vás v tejto chvíli neprekvapíme, ak povieme, že Nemci odpoveď skutočne našli, pričom inšpiráciu našli v paroplynových cykloch – konkrétne v expanznej turbíne.
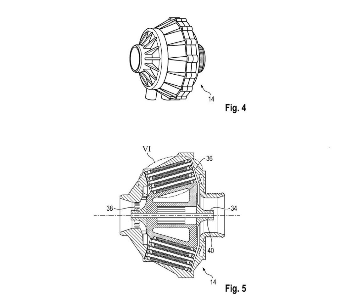
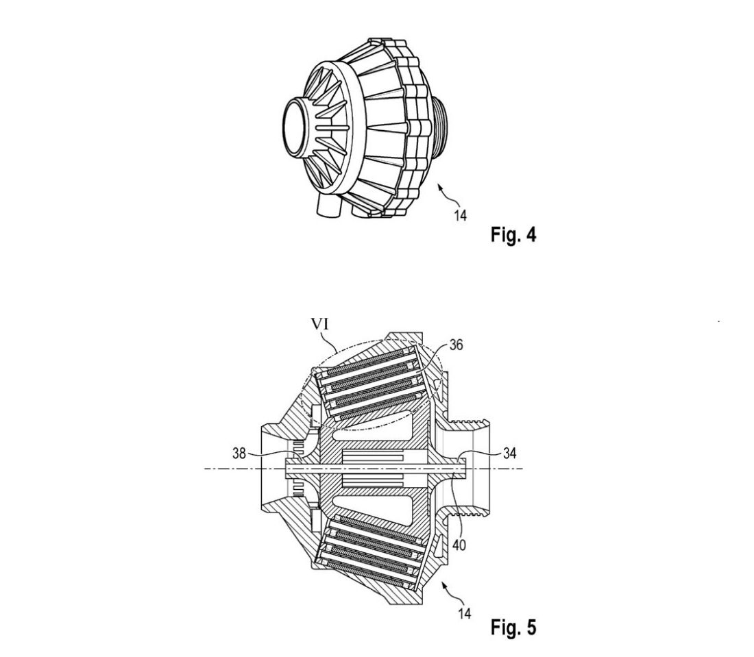
Kompaktná jednotka expanznej turbíny.
Turbína obalená medzichladičom
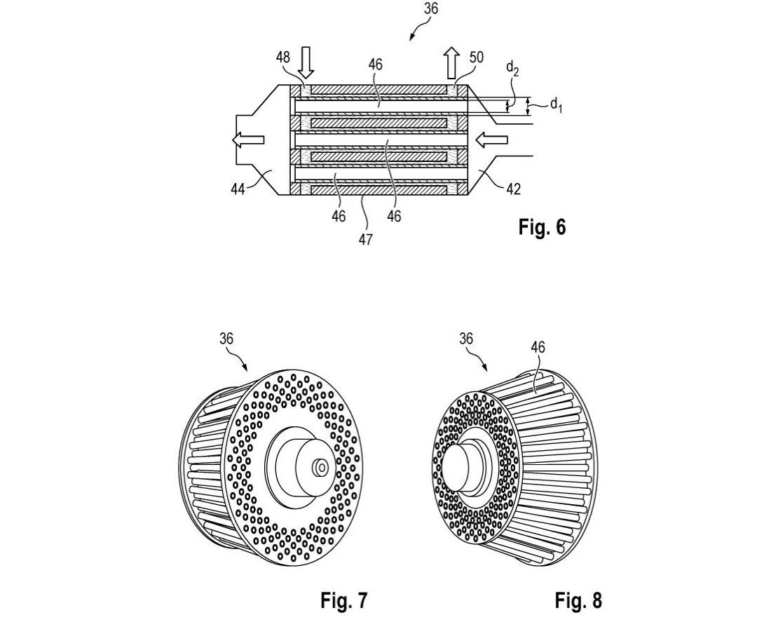
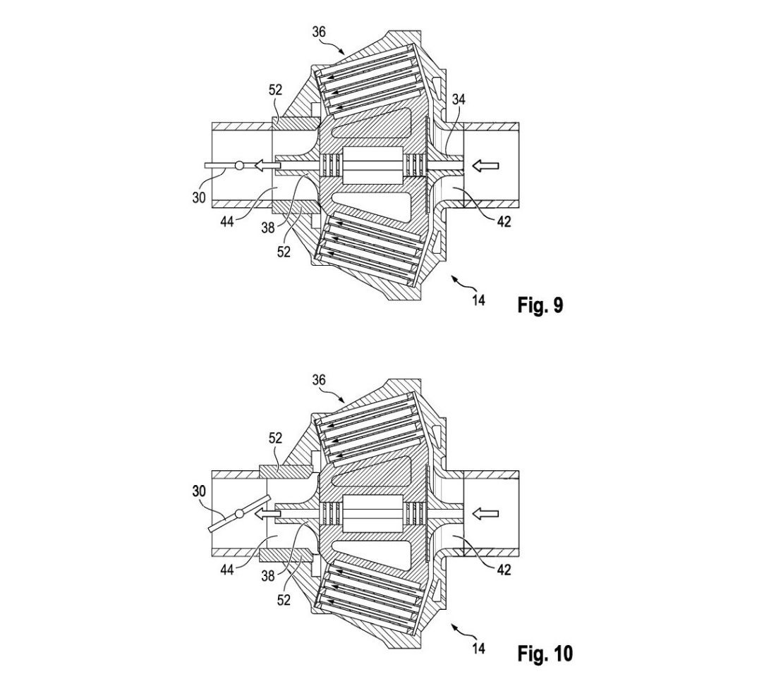
Ak by sme ju chceli popísať čo najjednoduchšie, nazvali by sme ju turbodúchadlom vo vodnom medzichladiči, pretože principiálne skutočne takto funguje. Poďme si to vysvetliť detailnejšie.
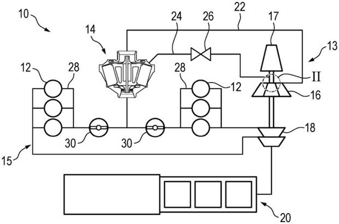
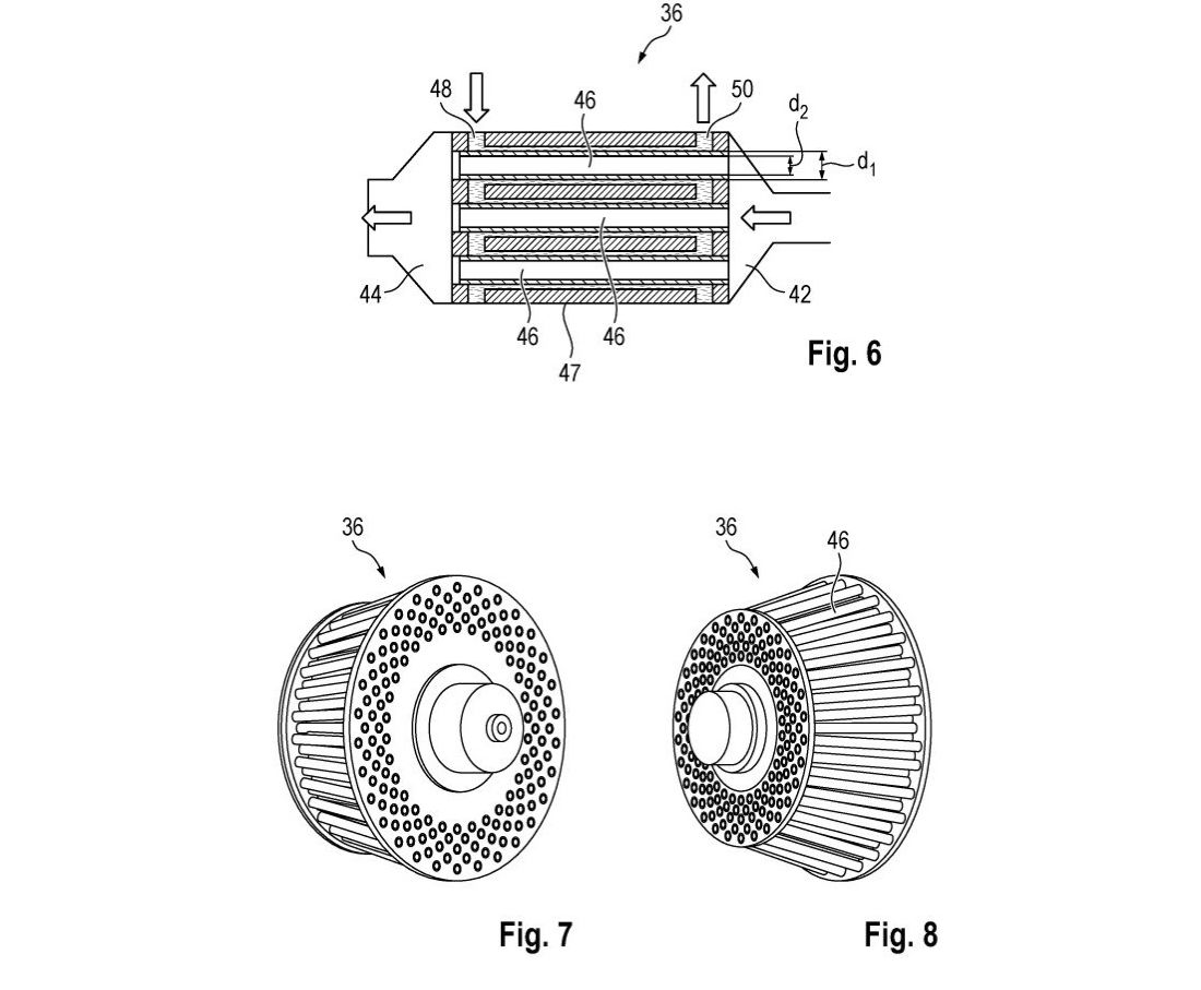
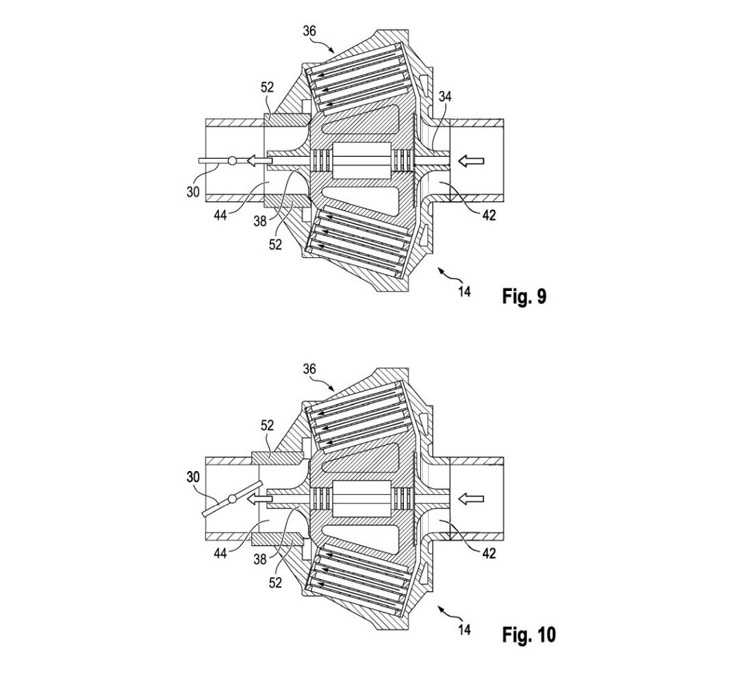
Porsche si dalo patentovať preplňovaný motor, v ktorom pracuje klasické turbo, ale zároveň v ňom nájdete aj expanznú turbínu. Je veľmi kompaktná a umiestnená medzi turbodúchadlom a vstupom nasávania do motora. Jej úlohu sme už naznačili, ak by sme to ale mali zhrnúť, turbína nahradzuje odpúšťanie prebytočného tlaku cez wastegate, veľmi presne reguluje konečný tlak a teplotu vzduchu pred motorom a robí to energeticky užitočným spôsobom. Ako? Namiesto toho, aby sme znížili výkon turba, necháme ho pracovať naplno. A prebytočnú energiu spracujeme medzichladičom a expanznou turbínou.
Perfektná príprava vzduchu
Automobilka k tomu ponúka konkrétny príklad. Predstavte si roztočené turbo pracujúce s vyšším expanzným pomerom, teda čo najbližšie k svojmu optimu, ktoré kompresorovou časťou tlačí do motora vzduch s tlakom 3,5 baru, lenže stlačením sa jeho teplota zvýšila na 215 stupňov Celzia. Za normálnych okolností by ste ho ešte prehnali medzichladičom, ale expanzná turbína pracuje trochu inak.
Jej vlastné kompresorové koleso najprv stlačí vzduch až na 5,2 baru pri súčasnom náraste teploty na 275 stupňov Celzia. Následne vstupuje do vodou chladeného výmenníka, kde tlak poklesne na 5,1 baru a teplota spadne na 53 °C. Poslednú časť regulácie preberá expanzná turbína, ktorá vám pre motor pripraví ideálnych 2,5 baru a teplotu 20 °C.
Turbo nepotrebuje brzdiť
Systém je navrhnutý tak, aby turbodúchadlo permanentne tlačilo „viac ako treba“ a prebytky nemusíte odpúšťať na strane výfuku, ani v nasávaní. Jednoducho ich spracujete novým regulačným členom, ktorý zvláda obe vetvy – expanzná turbína totiž zároveň nahrádza škrtenie nasávania.
Týmto všetkým expanzná turbína udržuje otáčky v systéme a pripravuje ho na rýchly prechod do záťaže, čo by inak riešila škrtiaca klapka a obtoky. Zároveň predpokladáme, že ak Porsche takýto motor postaví, nepoužije expanznú turbínu ako priamu náhradu wastegate v konštrukčnom zmysle, ale ako funkčnú náhradu v energetickom zmysle. Skrátka významne zníži potrebu turbodúchadlo „brzdiť“. A nasávanie bude regulované expanziou a nie škrtením.
Menšia turbodiera, lepšie reakcie na plyn, vyššia efektivita
Tento patent sľubuje nižšiu teplotu nasávaného vzduchu, stabilnejšie tlaky a menej extrémov na strane výfuku. To znamená lepšie ovládanie dlhodobej záťaže, menšiu potrebu bohatých zmesí, rýchlejší nárast plniaceho tlaku a z toho vyplýva plynulejšia odozva na plyn. Subjektívne by mal vodič túto techniku pocitovo vnímať ako menší motor s väčšou ochotou ísť do otáčok, ale zároveň ako keby mala táto pohonná jednotka väčšie turbo.
Predbežné hodnoty hovoria o 10 až 20-percentnom vylepšení dopravného meškania plynov, takzvanej turbodiery. Pritom je jasné, že nehovoríme o väčšom či silnejšom turbodúchadle, ale o úplne inom spôsobe spracovania energie v preplňovanom motore!
Prechod do praxe nebude jednoduchý
Patent zároveň vyslovene hovorí, že rotačnú energiu expanznej turbíny by bolo možné premieňať na elektrinu, ktorá by slúžila na podporu napríklad elektrického turba alebo iných spotrebičov. Nie je to však primárna úloha expanznej turbíny, Porsche ju ponúka len ako architektonickú nadstavbu, rozšíriteľnú možnosť.
Pochopiteľne nevieme, či Nemci tento nápad dotiahnu to funkčného prototypu a následne i do výroby. To, čo doteraz znelo fantasticky, má však aj svoju tienistú stránku. Problém je samozrejme v tom, že takýto motor bude pracovať s väčším počtom tlakových uzlov. Musíte koordinovať otáčky výfukového turba, expanznej turbíny, teplotu chladiacej kvapaliny, prietoky vzduchu, reakcie na plyn... Bez veľmi rýchleho a presného riadenia by v systéme vznikali nežiadúce tlakové kmity, oneskorené reakcie a nestabilné režimy.
911 by bola ideálny adept
Zároveň je jasné, že nasadenie do praxe môže byť ovplyvnené cenou. Expanzná turbína využíva presné obrábanie, tenkostenné trubky, drahé materiály, komponenty musia zvládať tlak aj vysoké otáčky. Zároveň je otázne, aký bude celkový zisk účinnosti, pochopiteľne v pomere k cene.
Pre malosériové športové autá typu 911, okruhové špeciály či dobíjacie hybridy by však podobná veci mohla dávať zmysel. Nechajme sa prekvapiť.
zdroj: Porsche, Patentscope


















































