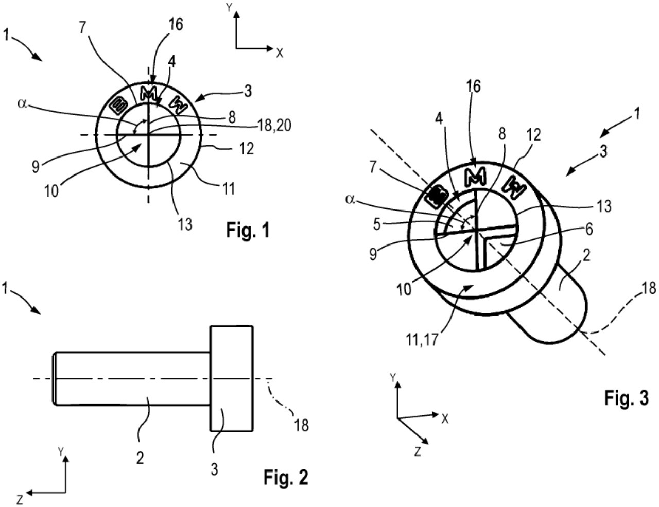
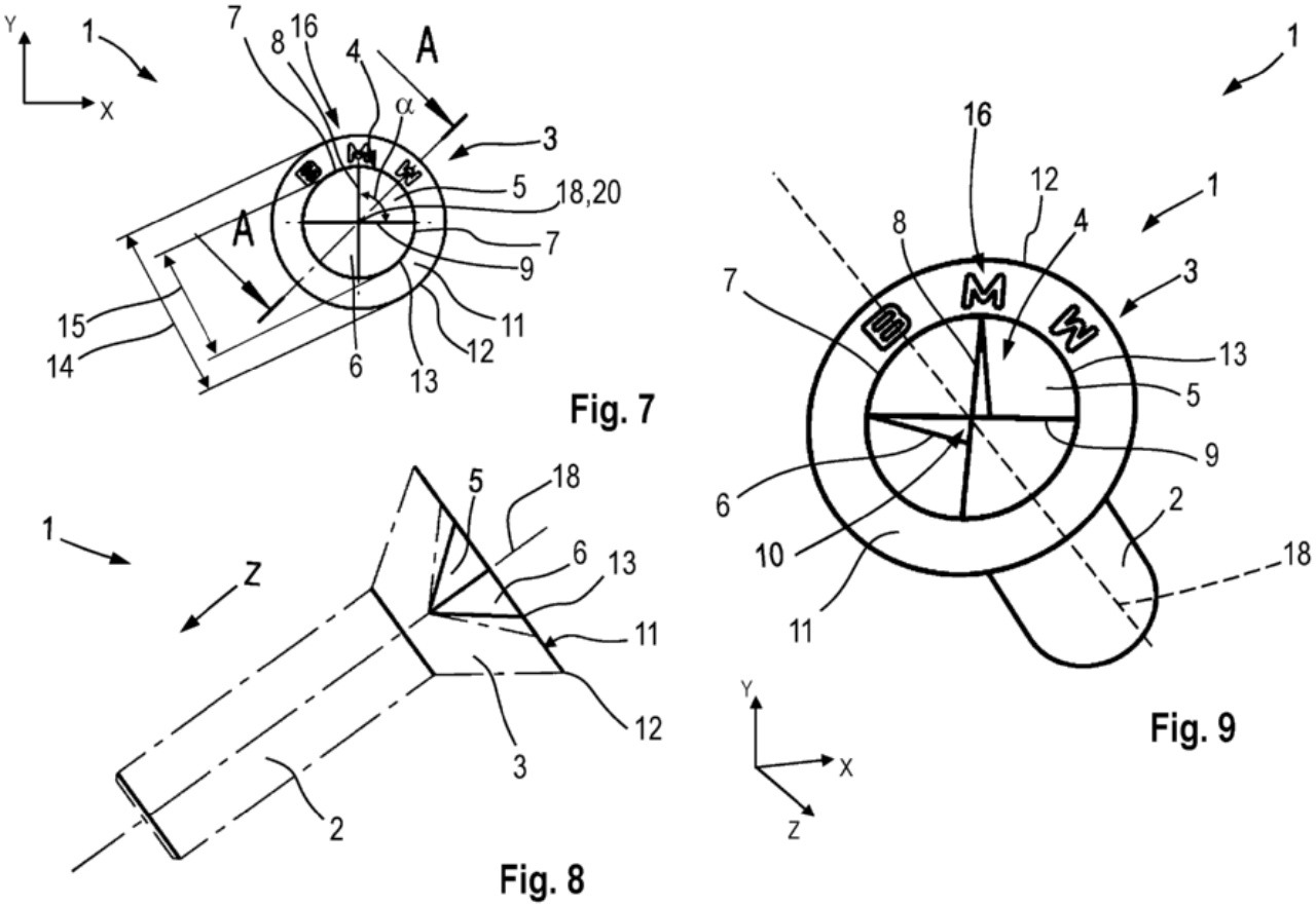
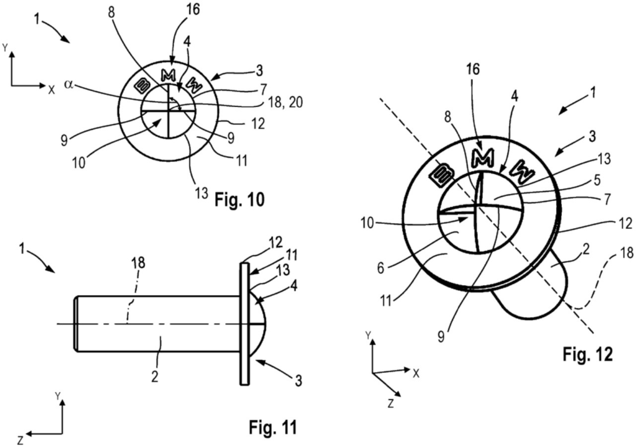
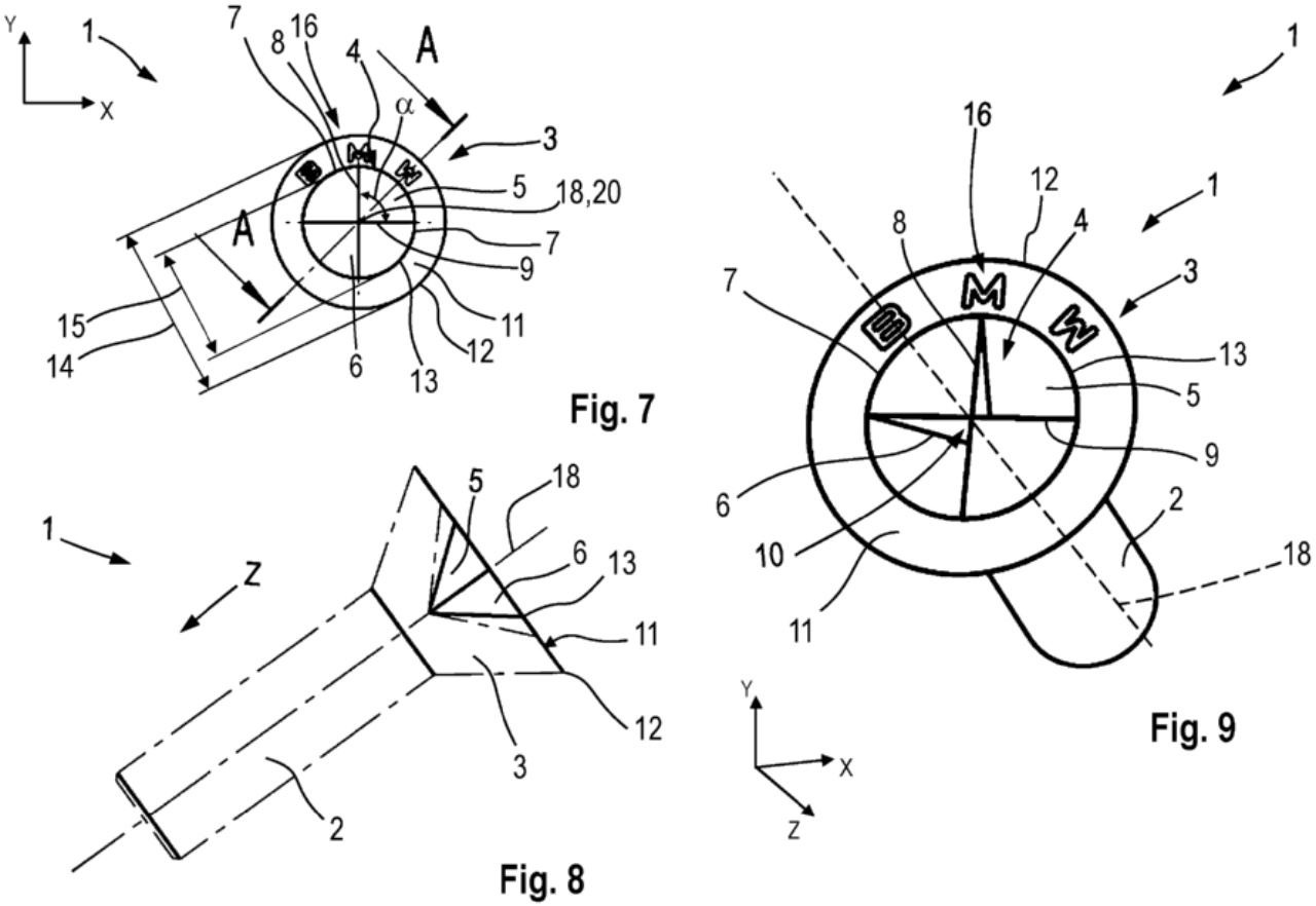
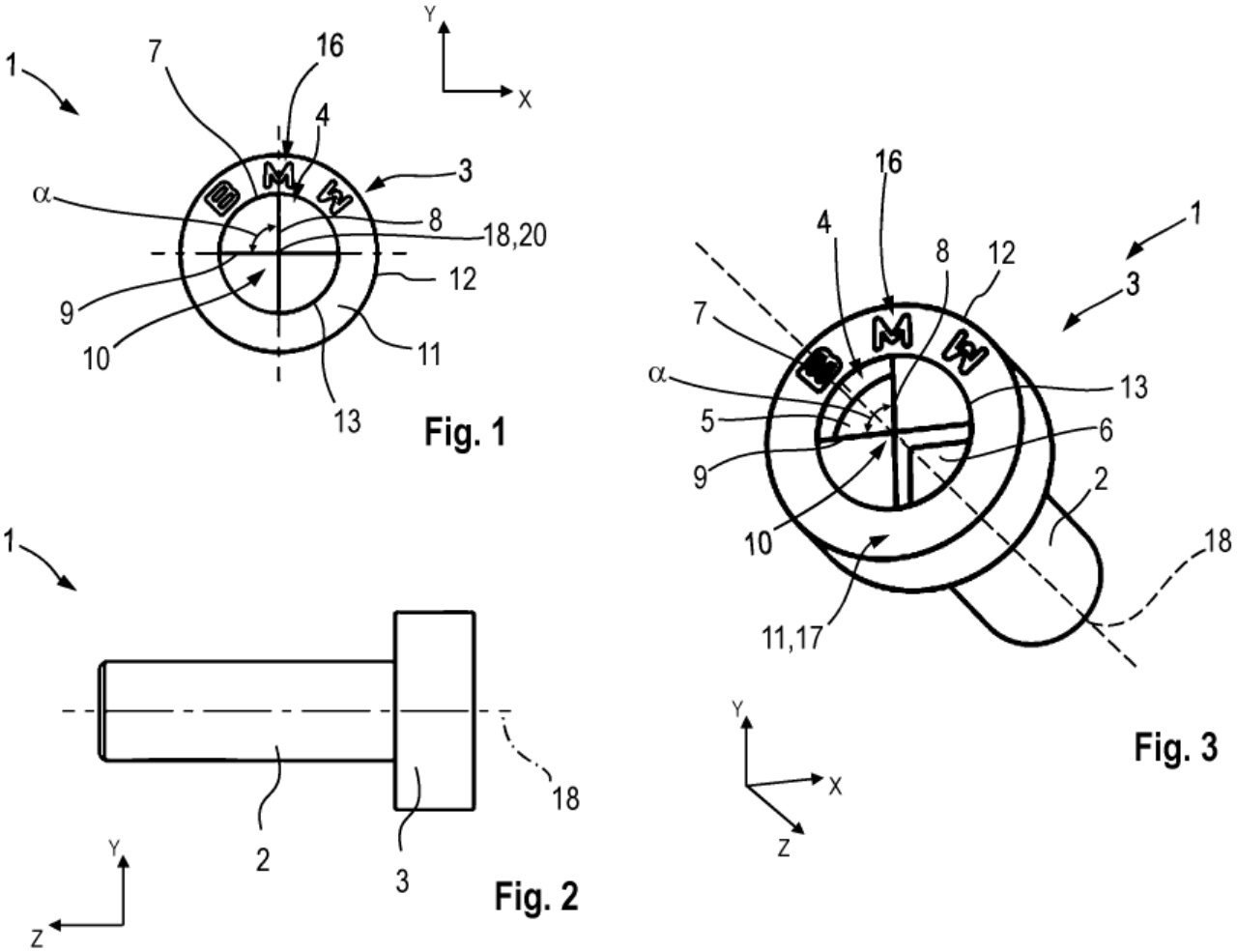
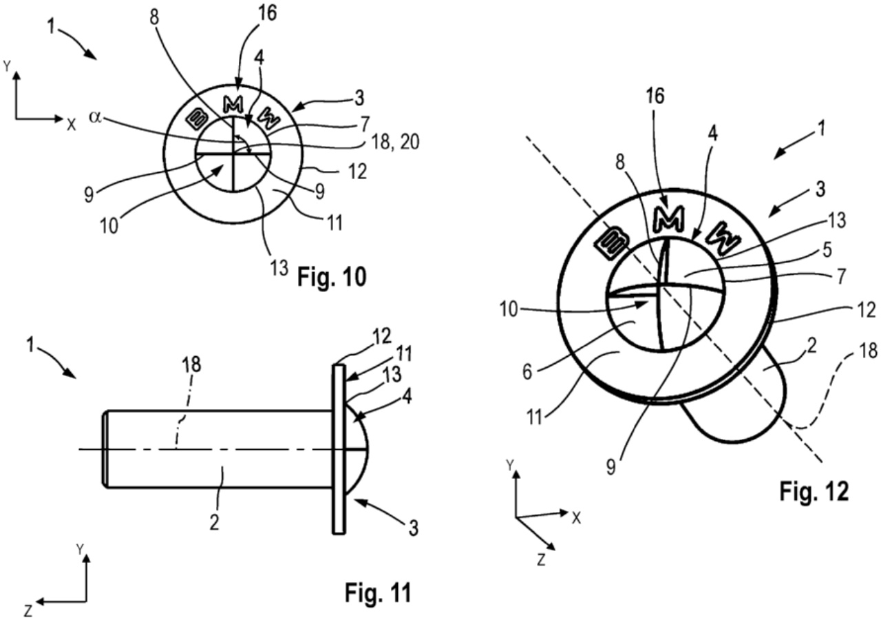
Ako vyzerá „logo-skrutka“
Patent opisuje viacero vyhotovení špeciálnej skrutky – môže ísť o obyčajnú, zápustnú aj „polguľatú“ hlavu s vnútorným profilom. Tieto výseky sú rozdelené deliaciou stenou na štyri sektory. Pre extra šmrnc je na okraji hlavy skrutky vyrazené logo BMW. Len aby sme nezabudli, kto mal tento „skvelý“ nápad.
Argument: bezpečnosť?
Podľa patentu sú tieto skrutky určené pre konštrukčné a polokonštrukčné oblasti, ako sú upevnenia sedadiel a spojenia medzi interiérom a karosériou. V patente sa priamo píše, že špeciálny tvar drážok má znemožniť povoľovanie či uťahovanie bežnými nástrojmi „neoprávnenými osobami“.
Z formulácií v dokumente teda vyplýva, že mníchovská značka týmto krokom mieri aj na „brand bezpečnosť“ – kritické opravy majú robiť len kvalifikovaní technici, čo má znížiť zodpovednostné riziká a udržať kontrolu nad kvalitou servisných zásahov.
Kritika
Mnohí to vnímajú ako útok na hnutie „právo na opravu“ – krok, ktorý má majiteľov dotlačiť do drahých autorizovaných servisov aj pri drobných zásahoch. V čase, keď Mercedes pri svetlách prechádza z lepidiel späť na klasické skrutky, aby boli lepšie opraviteľné, pôsobí logo‑skrutka BMW ako presný opak trendu a ďalší krok k servisnému monopolu.
Čo bude ďalej
V tejto chvíli je však dobré pripomenúť, že ide stále „len“ o patentovú prihlášku, nie o hotové riešenie, ktoré už nájdete na každom novom aute BMW. A ak by sa logo‑skrutky predsa len dostali do sériových áut, dá sa takmer staviť na to, že výrobcovia prídu s vlastnými bitmi skôr, než stihne prvý majiteľ zavolať do autorizovaného servisu.
zdroj: Carbuzz Patentscope
Odpovedalo 11 ľudí














































