Prémiové značky začali s masážnymi funkciami na predných sedadlách už v 90. rokoch. V tom čase ale išlo o jednoduché vzduchové vankúše, ktoré sa nafukovali a vyfukovali. Najprv boli len na sedacej časti, neskôr aj v operadlách.
Dnes už masážne sedadlá nájdeme aj v bežných modeloch a značkách a v jednoduchšej forme aj vo vozidlách nižších tried. Mercedes-Benz sa preto rozhodol, že pôjde ešte o krok ďalej. Na patentovom úrade si nechali zaregistrovať masáž hlavy, ktorú ale nemajú poskytnúť vzduchové vankúšiky v opierke hlavy. Značka na to ide trocha sofistikovanejšie.
„Cudzie ruky“ na vašej hlave
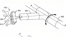
O masáž sa majú postarať ramená ovládané piestikmi, ktoré by mali „jazdiť“ po vašej hlave, otáčať sa a rôzne vibrovať. Trocha to pripomína oceľovú škrabku na hlavu, ktorú niekde nájdete aj pod názvom ajurvédsky masážny strojček. Ovládanie by malo byť možné cez infotainment alebo telefón. Možno to príde niekomu aj trocha strašidelné, nechať sa masírovať mechanickými „pojazdnými rukami“, ale ako to niekedy pri patentoch býva, nie všetky sa dostanú aj do sériovej výroby. Tak či onak, je to zaujímavý počin. Vyskúšali by ste to, alebo sa radšej spoliehate na ruky profesionálneho maséra?
zdroj: Carbuzz












































