Najväčším problémom elektromobilov je dnes energetická hustota akumulátorov či rýchlosť nabíjania, nemenej dôležitý je však tiež priestor, ktorý zaberajú. Sú veľké, ťažké a práve rozmery článkov uložených do blokov rozhodujú okrem iného o tom, akú výšku bude mať nielen samotná platforma.
Príliš vysoká podlaha totiž núti dizajnérov ukotviť sedadlá podstatne vyššie, čo zase v kontexte nutného zachovania priestoru nad hlavami cestujúcich vedie ku kompromisom aj vo výške strechy, respektíve jej tvaru. Aj preto niektoré batériové vozidlá vyzerajú byť vyššie než je nutné, alebo musia obetovať vnútorné rozmery, aby udržali líniu profilu na uzde.
Viac voľnosti dizajnérom
Tento problém sa najviac prejavuje u malých elektromobilov a rodinných áut, ktoré nemajú taký veľký pôdorys, aby články rozložili na väčšej ploche a háčik je v tom, že práve u vozidiel týchto segmentov často záleží na každom centimetri.
Aj s premysleným usporiadaním kabíny majú dizajnéri zviazané ruky, ak majú líniu podlahy príliš vysoko, a práve na tento konštrukčný problém sa zameriava nový patent Toyoty.
Dostane sa výroby?
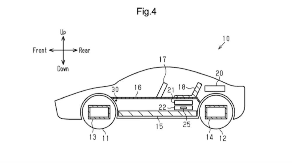
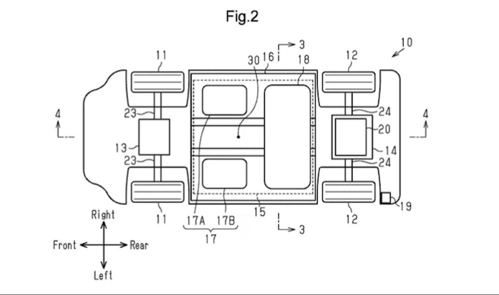
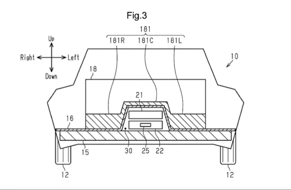
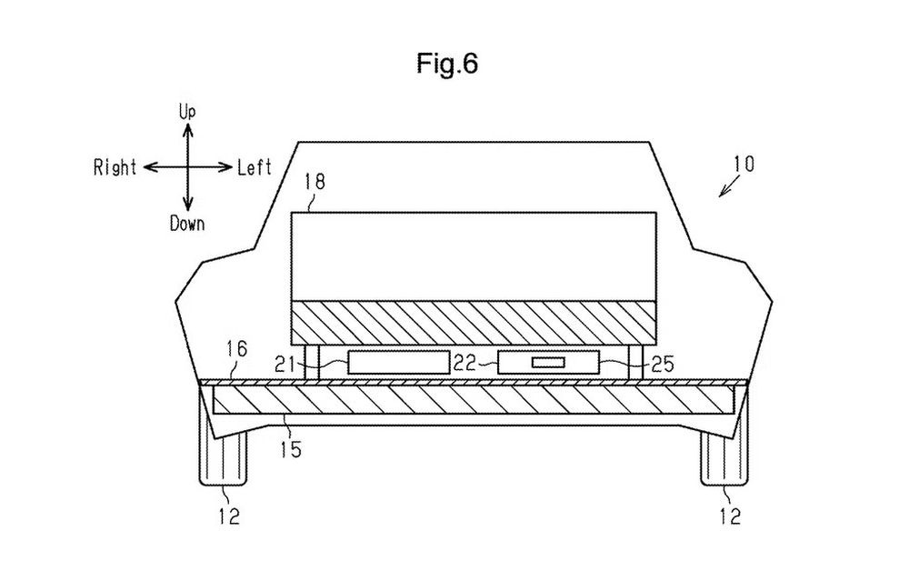
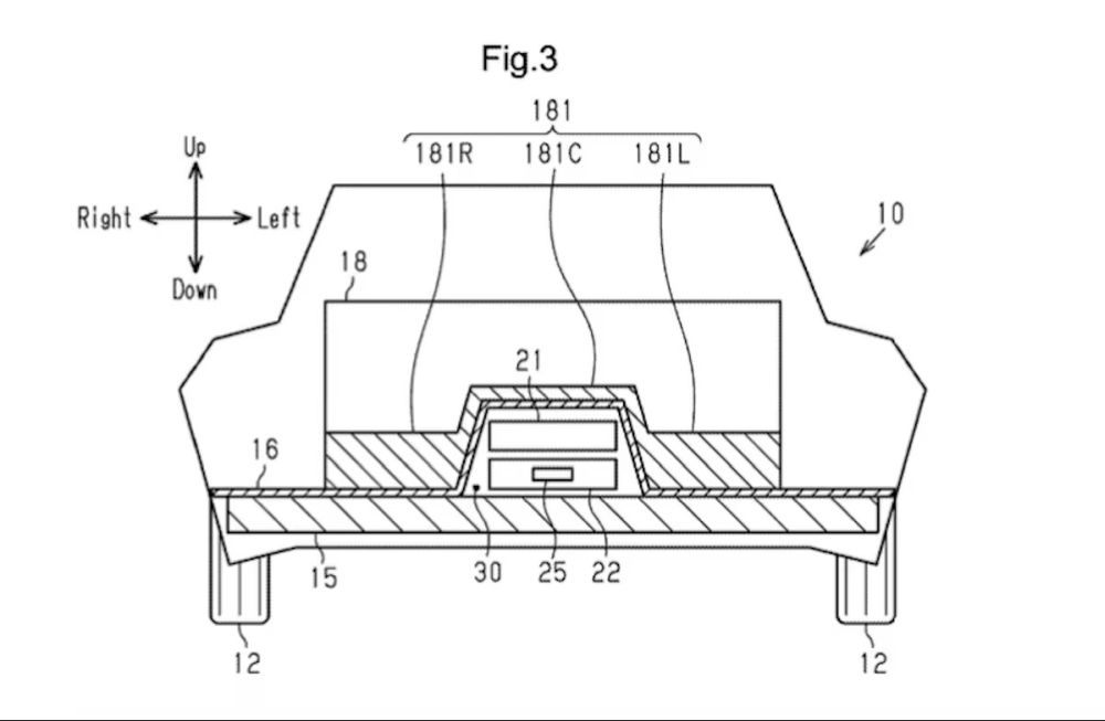
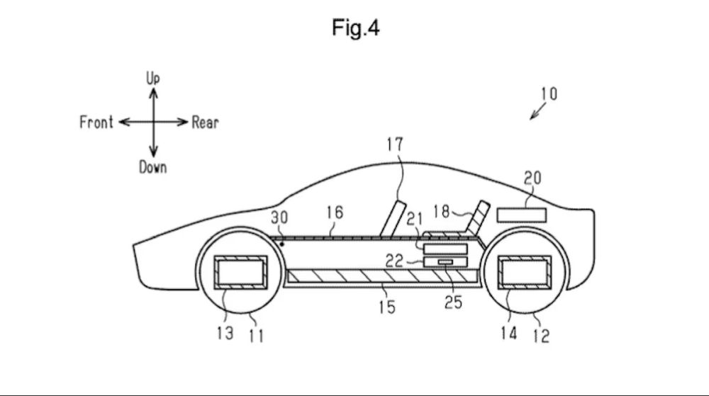
Japonci sa v ňom nezamerali na chémiu či vnútornú štruktúru článkov, ale sústredili sa na usporiadanie jednotlivých komponentov pod podlahou.
Než sa na to pozrieme detailne, opäť musíme pripomenúť, že registrácia na patentovom úrade ešte nič neznamená. Automobilka novinku môže vyrábať či zahrnúť do vývoja nových áut, ale nutne nemusí. Skúmajú v prvom rade koncepty či budúce technické smery a týmto sa snažia chrániť svoje nápady.
Trochu ako lego, nie len jedna hrubá vrstva
Ten od Toyoty bol podaný v Spojených štátoch, vlani v júni, pod číslom 20260021715 a zverejnili ho len pred pár týždňami. O čo v ňom ide?
Namiesto naukladania kľúčových komponentov do jednej hrubej vrstvy (napríklad v podobe skateboardovej platformy) na to Japonci išli trochu inak. Batériu nechali pod podlahou, ale elektroniku, riadiace jednotky napájania, rozvody a množstvo ďalších komponentov presunuli, aby neboli nahromadené na jednom mieste.
Batéria ako konštrukčný prvok
Cieľom je samozrejme znížiť objem zmenou usporiadania dielcov a nie nutne urobiť samotný akumulátor tenší (aj keď sa predpokladá, že postupným vývojom sa bude znižovať aj výška článkov).
Schémy patentu ukazujú, že batéria má dvojaký účel. Funguje ako zdroj energie, ale zároveň je to konštrukčný prvok, ktorý chráni citlivú elektroniku. Skrátením kabeláže a zoskupením komponentov bližšie k sebe by Toyota mohla ušetriť miesto a zvýšiť efektivitu konštrukcie i auta aj bez zmeny chemického zloženia článkov.
Môže opäť posunúť vpred aerodynamiku
Ak sa tento nápad dostane do výroby, výhody pre zákazníkov sú zrejmé. Tenšia podlaha dovolí nižšie ukotvenie sedadiel, posádka dostane viac miesta nad hlavami, konštruktéri budú môcť znížiť výšku auta a dosiahnuť alternatívne tiež na nižší aerodynamický odpor vďaka zníženému profilu.
V menších autách získajú návrhári viac miesta na zadných sedadlách, flexibilnejšie usporiadanie batožinového priestoru a vo výsledku by mohli opäť vyzerať ako hatchbacky a nie ako crossovery či SUV.
zdroj: USPTO
















































